杭州恩創機械有限公司 > 服務與支持 > 設備選型指南 >
什么是結晶器,結晶器分類及應用
2011年04月25日 作者:圣亞 次
結晶器
用于結晶操作的設備稱為結晶器。結晶器的類型很多,按溶液獲得過飽和狀態的方法可分蒸發結晶器和冷卻結晶器;按流動方式可分母液循環結晶器和晶漿(即母液和晶體的混合物)循環結晶器;按操作方式可分連續結晶器和間歇結晶器。

常用的結晶器有:
結晶槽 一種槽形容器,器壁設有夾套或器內裝有蛇管,用以加熱或冷卻槽內溶液。結晶槽可用作蒸發結晶器或冷卻結晶器。為提高晶體生產強度,可在槽內增設攪拌器。結晶槽可用于連續操作或間歇操作。間歇操作得到的晶體較大,但晶體易連成晶簇,夾帶母液,影響產品純度。這種結晶器結構簡單,生產強度較低,適用于小批量產品(如化學試劑和生化試劑等)的生產。
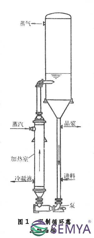
強制循環蒸發結晶器 一種晶漿循環式連續結晶器(圖1)。操作時,料液自循環管下部加入,與離開結晶室底部的晶漿混合后,由泵送往加熱室。晶漿在加熱室內升溫(通常為2~6℃),但不發生蒸發。熱晶漿進入結晶室后沸騰,使溶液達到過飽和狀態,于是部分溶質沉積在懸浮晶粒表面上,使晶體長大。作為產品的晶漿從循環管上部排出。強制循環蒸發結晶器生產能力大,但產品的粒度分布較寬。

DTB型蒸發結晶器 即導流筒-擋板蒸發結晶器,也是一種晶漿循環式結晶器(見彩圖)。器下部接有淘析柱,器內設有導流筒和筒形擋板,操作時熱飽和料液連續加到循環管下部,與循環管內夾帶有小晶體的母液混合后泵送至加熱器。加熱后的溶液在導流筒底部附近流入結晶器,并由緩慢轉動的螺旋槳沿導流筒送至液面。溶液在液面蒸發冷卻,達過飽和狀態,其中部分溶質在懸浮的顆粒表面沉積,使晶體長大。在環形擋板外圍還有一個沉降區。在沉降區內大顆粒沉降,而小顆粒則隨母液入循環管并受熱溶解。晶體于結晶器底部入淘析柱。為使結晶產品的粒度盡量均勻,將沉降區來的部分母液加到淘析柱底部,利用水力分級的作用,使小顆粒隨液流返回結晶器,而結晶產品從淘析柱下部卸出(圖2)。

奧斯陸型蒸發結晶器 又稱為克里斯塔爾結晶器, 一種母液循環式連續結晶器(圖3)。操作的料液加到循環管中,與管內循環母液混合,由泵送至加熱室。加熱后的溶液在蒸發室中蒸發并達到過飽和,經中心管進入蒸發室下方的晶體流化床(見流態化)。在晶體流化床內,溶液中過飽和的溶質沉積在懸浮顆粒表面,使晶體長大。晶體流化床對顆粒進行水力分級,大顆粒在下,而小顆粒在上,從流化床底部卸出粒度較為均勻的結晶產品。流化床中的細小顆粒隨母液流入循環管,重新加熱時溶去其中的微小晶體。若以冷卻室代替奧斯陸蒸發結晶器的加熱室并除去蒸發室等,則構成奧斯陸冷卻結晶器。這種設備的主要缺點是溶質易沉積在傳熱表面上,操作較麻煩,因而應用不廣泛。

相關產品:結晶器、蒸發器結晶器、強制循環蒸發結晶器、硫酸鈉蒸發結晶器、氯化鈉蒸發結晶器、制藥廢水蒸發結晶器
上一篇:蒸發器結構分類及應用領域
下一篇:熔融結晶的優點


